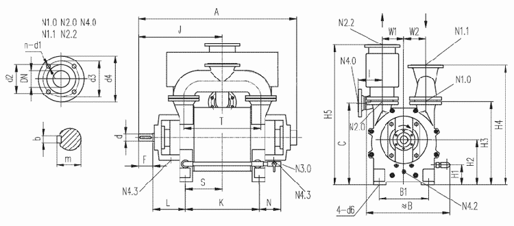
| 2BE1 202/203/252/253泵头安装尺寸 | |
|
|
|
| N1.0进气端法兰 N1.1连通管法兰 N2.0排气端法兰 N2.2分离器法兰 N3.0工作液接口 N4.0分离器排液口 N4.2冲洗、排液口 N4.3泄漏液排放口 |
|
| 代号 | A | B1 | B | b | C | d | d6 | F | H1 | H2 | H3 | H4 | H5 | I | J | |
| 2BE1 202 | 975 | 340 | 700 | 14 | 580 | 50 | 24 | 82 | 127 | 315 | 590 | 840 | 985 | 170 | 507 | |
| 2BE1 203 | 1095 | 340 | 700 | 14 | 580 | 50 | 24 | 82 | 127 | 315 | 590 | 840 | 985 | 170 | 567 | |
| 2BE1 252 | 1225 | 465 | 800 | 20 | 750 | 70 | 28 | 105 | 148 | 400 | 755 | 1030 | 1245 | 170 | 630 | |
| 2BE1 253 | 1375 | 465 | 800 | 20 | 750 | 70 | 28 | 105 | 148 | 400 | 755 | 1030 | 1245 | 170 | 705 | |
| 代号 | K | L | m | N | S | T | W1 | W2 | N3.0 | N4.2 | N4.3 | |||||
| 2BE1 202 | 395 | 227 | 53.5 | 175 | 198 | 427 | 155 | 155 | G1" | G3/4" | G3/4" | |||||
| 2BE1 203 | 515 | 227 | 53.5 | 175 | 258 | 547 | 155 | 155 | G1" | G3/4" | G3/4" | |||||
| 2BE1 252 | 525 | 263 | 74.5 | 200 | 263 | 570 | 215 | 215 | G11/4" | G1" | G3/4" | |||||
| 2BE1 253 | 675 | 263 | 74.5 | 200 | 338 | 720 | 215 | 215 | G11/4" | G1" | G3/4" | |||||
| 代号 | DN | d1 | d2 | d3 | d4 | n | 代号 | DN | d1 | d2 | d3 | d4 | n | |||
| 2BE1 202 2BE1 203 |
N1.0 N2.0 |
100 | 18 | 158 | 180 | 220 | 8 |
2BE1 252 2BE1 253 |
N1.0 N2.0 |
125 | 18 | 188 | 210 | 250 | 8 | |
| N1.1 N2.2 |
125 | 18 | 188 | 210 | 250 | 8 | N1.1 N2.2 |
150 | 22 | 212 | 240 | 285 | 8 | |||
| N4.0 | 80 | 18 | 132 | 160 | 200 | 8 | N4.0 | 80 | 18 | 132 | 160 | 200 | 8 | |||