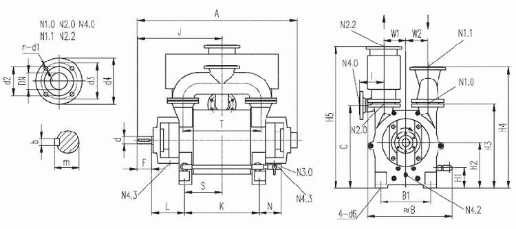
| 2BE1 151/152/153泵头安装尺寸 | |
|
|
|
| N1.0进气端法兰 N1.1连通管法兰 N2.0排气端法兰 N2.2分离器法兰 N3.0工作液接口 N4.0分离器排液口 N4.2冲洗、排液口 N4.3泄漏液排放口 |
|
| 代号 | A | B1 | B | b | C | d | d6 | F | H1 | H2 | H3 | H4 | H5 | |
| 2BE1 151 | 800 | 260 | 550 | 10 | 448 | 35 | 19 | 58 | 94 | 225 | 425 | 600 | 745 | |
| 2BE1 152 | 825 | 260 | 550 | 10 | 448 | 35 | 19 | 58 | 94 | 225 | 425 | 600 | 745 | |
| 2BE1 153 | 885 | 260 | 550 | 10 | 448 | 35 | 19 | 58 | 94 | 225 | 425 | 600 | 745 | |
| 代号 | I | J | K | L | m | N | S | T | W1 | W2 | N3.0 | N4.2 | N4.3 | |
| 2BE1 151 | 120 | 411.5 | 295 | 206 | 38 | 145 | 147.5 | 307 | 125 | 125 | G3/4" | G1/2" | G1/4" | |
| 2BE1 152 | 120 | 424 | 320 | 206 | 38 | 145 | 160 | 332 | 125 | 125 | G3/4" | G1/2" | G1/4" | |
| 2BE1 153 | 120 | 454 | 380 | 206 | 38 | 145 | 190 | 392 | 125 | 125 | G3/4" | G1/2" | G1/4" | |
| 代号 | DN | d1 | d2 | d3 | d4 | n | ||||||||
| 2BE1 151 2BE1 152 2BE1 153 |
N1.0 N2.0 |
65 | 18 | 122 | 145 | 185 | 4 | |||||||
| N1.1 N2.2 |
100 | 18 | 158 | 180 | 220 | 8 | ||||||||
| N4.0 | 50 | 18 | 99 | 125 | 165 | 4 | ||||||||